- A Porsche registrou uma nova patente para listras de corrida que podem aparecer e desaparecer.
- A patente descreve uma película externa que pode ser aplicada no exterior do carro e muda quando uma tensão elétrica é aplicada.
- A Porsche descreve o uso da tecnologia para indicar o modo de condução ou o status de carga do carro.
A Porsche registrou uma nova patente para listras de corrida ocultas. A tecnologia utiliza um material de filme, que a montadora descreve como papel eletrônico ou revestimento paramagnético, no exterior do veículo, que muda de cor quando uma tensão elétrica é aplicada.
A patente mostra várias maneiras Porsche poderiam usar a tecnologia, sendo a mais notável o desaparecimento das listras de corrida. De acordo com o Arquivamento alemãoas listras podem mudar de cor dependendo do modo de direção do veículo, como verde para eco ou vermelho para esporte – ou podem desaparecer completamente com o clique de um botão.
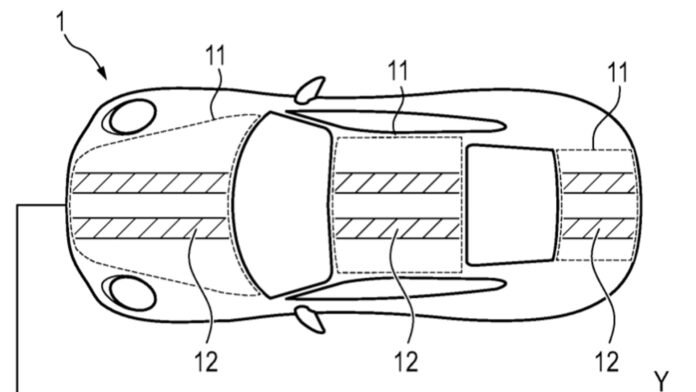
As imagens também mostram o uso do filme nas listras atrás das rodas traseiras e no difusor traseiro. A patente também descreve o uso da tecnologia em um veículo elétrico para exibir o status de carga do carro diretamente no exterior.
É uma tecnologia interessante, mas não nova. As montadoras já utilizam vidro eletrocrômico que altera a opacidade com alterações na corrente elétrica. Isso apenas leva a tecnologia um passo adiante.
Avaliação do Motor1: Carros que mudam de cor não são um conceito novo. A BMW introduziu o conceito i Vision Dee com exterior E Ink há alguns anos, o que permitiu ao carro usar 32 cores diferentes. A patente da Porsche mostra como uma montadora poderia usar exteriores que mudam de cor de maneiras inovadoras e úteis, indo além da pura estética.
